저품질 블로그 확인 방법
본인의 블로그가 저품질 블로그인지 아닌지 확인하는 방법입니다.
내가 포스팅을 잘못하고 내용이 짧은 이유로 상위 검색 노출이 안될수도 있지만
저품질 블로그가 되면 상위 노출은 당연히 안되고
노출 자체가 안되는 경우도 있습니다.
웹사이트에서 저품질 블로그인지 확인하는 방법입니다.
웨어이즈포스트
검색창에 웨어이즈포스트 or Whereispost 검색합니다.
위의 검색창에 본인의 블로그 및 사이트를 검색합니다.
"네이버" 검색에서만 저품질 블로그인지 확인할수 있는 방법입니다.
네이버 이외에 다른곳에서 저품질 블로그인지 알지 못하는 단점이 있습니다.
구글 or 다음 or 그외 기타 검색엔진 저품질 블로그인지 알 수 없습니다.
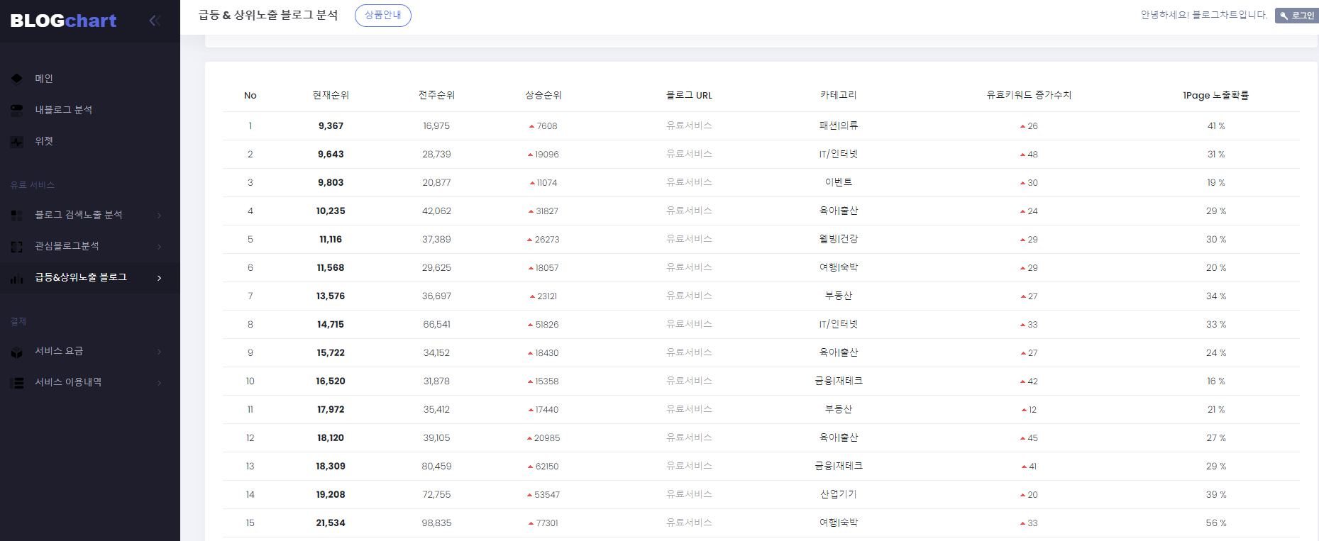
블로그차트
검색창에 블로그차트 or Blogchart 검색합니다.
회원가입을 하셔야 이용이 가능하고
간단하게 알아볼수 있는 정보는 무료
좀 더 세밀하고 자세하게 알아보는 정보는 유료입니다.

이 외에도 어떤 차트(키워드 제목)뜨고 있는지
블로그 검색노출 / 관심 블로그 / 급등 / 상위노출 블로그등을 알 수 있습니다.
현재순위 / 전주순위 / 상승순위 / 블로그URL / 카테고리 / 유효키워드 증가수치 / 1Page 노출확률
자세하고 세세하게 알수 있습니다.
리뷰언즈
https://www.reviewerns.com/portal/
블로그의 MP(Market Price)를 예상하여 측정해주는 사이트입니다.
여기는 아예 네이버 블로그만 측정해주는 사이트입니다.
다른 티스토리 블로그 or 구글 블로그 or 그외 기타 블로그는 측정되지 않습니다.
슈퍼멤버스
https://www.supermembers.co.kr/rank
어플apk 서비스도 있습니다.
인터넷 pc에서도 검색도 됩니다.
순위를 알수 있고 조회된 횟수당 예상 광고비용을 얼마나 받을수 있는지도 대략 분석해줍니다.
단점으로는
상위 10만개만 검색에서 분석을 할 수 있으며
네이버 블로그만 검색해서 확인하실수 있습니다.
헬프리치
블로그 지수분석을 해주는 사이트입니다.
다른 정보로는 키워드를 입력해서 네이버에서
제목 + 일일방문자 + 글자수 + 사진수 + 키워드 반복 + 게시일추가로 알수 있는 사이트입니다.
단점은 네이버 블로그의 정보만 알수 있는 사이트입니다.
구글 or 다음 or 외국사이트 블로그등등의 정보는 알수가 없습니다.
블로그헬퍼
블로그를 진단해주거나 블로그자료를 얻을수 있는 사이트 입니다.
블로그를 잘 쓰게 도와주는 도우미 시스템도 존재합니다.
로그인을 통해서 무료 / 유료 서비스 2개가 존재합니다.
단점은 네이버 블로그만 이용이 가능합니다.
다른 사이트 블로그는 이용이 불가능합니다.
티온스테이션
https://sta.tion.co.kr/blog_visit/
블로그 티온지수 + 블로그 정보 등등 여러가지 정보를 얻을수 있는 사이트입니다.
정밀진단도 어느정도 가능하며 점수제로 평가를 하고 있습니다.
[높은 숫자 점수일수록 더 좋습니다]
단점은 네이버 블로그만 티온지수를 알 수 있습니다.
그외에 다른 블로그는 알 수 없습니다.
꿈의공장
블로그 지수확인을 알 수 있습니다.
키워드와 관련된 조회수 및 순위도 알 수 있습니다.
단점은 네이버 블로그만 지수확인을 할 수 있습니다.
다른 블로그들은 확인할수 없습니다.
대한민국은
네이버 블로그만 전문적으로 활성화되어 있기 때문에
다른 블로그의 확인 방법은 거의 찾기 힘듭니다.
검색엔진으로 찾아보시거나
방문 유입 통계를 통해서 대략적으로 본인이 직접 분석을 해서 찾으셔야합니다.
저품질 블로그란? : https://codiyoutsu90.tistory.com/514
저품질 블로그 탈출 방법 : https://codiyoutsu90.tistory.com/517
'일상다반사 정보(Information) > 다양한 정보(Various+Information)' 카테고리의 다른 글
| 메리지 그레이 - 13살 나이차이 사랑이야기 러브코디미 (0) | 2022.07.23 |
|---|---|
| 저품질 블로그 탈출 방법 (1) | 2022.07.22 |
| 저품질 블로그란? (2) | 2022.07.22 |
| 간단하게 움직이는 이미지(움짤)을 만들어보자 Gifcam(기프캠) 다운로드 (0) | 2022.07.22 |
| 선배가 짜증나는 후배 이야기 - 러브코미디 드라마 (0) | 2022.07.22 |








댓글